
В подавляющем большинстве современных квартир и домов кухня является самым важным помещением. Ведь здесь не только готовят пищу, но и принимают гостей. Поэтому, чтобы на кухне было и удобно, и приятно, вы должны стремиться не только к улучшению дизайна кухни, а и к повышению ее функциональности.
Следовательно, при обустройстве кухни надо учитывать, что здесь преобладает ручной труд. Исходя из этого, разработано 4 основных вида планировки кухни: U-образная, L-образная, двухрядная и однорядная. Но каждый вид планировки имеет линии, объединяющие три центра активности и образующие рабочий треугольник— холодильник, раковину и плиту, к которым хозяйка, находящаяся внутри этого треугольника, должна подходить беспрепятственно.
В идеале, раковину нужно располагать в центре этого треугольника, а расстояние от нее до плиты должно быть 120— 180 см, а от раковины до холодильника — 120— 210 см.
При этом кухонную плиту лучше располагать ближе к обеденному столу, а холодильник и морозильную камеру - в углах кухни.
Теперь о каждом виде планировке.
П-образная планировка: кухонные приспособления и мебель размещены вдоль трех стен, что обеспечивает доступ к трем центрам и не мешает перемещению. Длина задней стенки при этом должна быть 240—400 см, а свободное пространство — 120—280 см. Меньшие параметры не позволят свободно передвигаться, а большие, наоборот, заставят делать много лишних шагов.

Г-образная планировка: лучше всего подходит для маленькой квадратной кухни, а в большой позволит изолировать рабочий треугольник, оставив место для столовой. Но у такой планировки есть недостаток — большое расстояние между двумя рабочими центрами, т. к. мойка находится между плитой и холодильником.


Двухрядная планировка: чаще используется в «проходной» кухне и предполагает расстановку мебели вдоль двух параллельных стен. И так как стороны рабочего треугольника будут прерываться движением по кухне, то плиту и раковину лучше располагать одной стены.

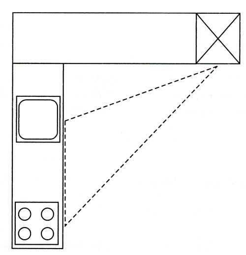
Однорядная планировка: предполагает длину общей рабочей поверхности не более 366 см, иначе расстояние между рабочими центрами будет слишком большим. Поэтому, в таком случае холодильник должен располагаться на одном конце ряда, плита — на другом, а мойка — между ними. Большую часть рабочей поверхности кухни нужно располагать между плитой и раковиной (рис.).


Основные правила организации кухонного пространства
1. Все должно быть под рукой.
Поэтому, мебель надо расставить так, чтобы в процессе работы движения между мойкой, плитой и холодильником были минимальными. Между мойкой и плитой лучше расположить рабочую поверхность для подготовки продуктов, длиной не более 60 см.
Не нужно размещать газовую плиту возле окна, что бы сквозняк не погасил пламя, а также в углу кухни. Кухонные приборы лучше хранить в ящике рядом с плитой.
2. Спина не должна уставать
Поэтому, нижние тумбы мебели должны иметь выдвижные ящики, а не двери, чтобы вы имели удобный доступ к любой части содержимого. А верхние шкафы должны находиться на удобной высоте.
3. Рабочей поверхности — оптимальную высоту
Она подбирается в зависимости от роста человека. Кроме этого, храните тяжелую посуду в нижних тумбах, чтобы ее легче было доставать.
4. Удобное расположение бытовой техники
Сегодня бытовая техника занимает значительное место на кухне. На небольшом пространстве можно разместить микроволновую печь, электрочайник, стиральную машину, телевизор. Однако, если кухня маленькая, то от размещения некоторых приборов лучше отказаться (например, телевизор или стиральная машина). Посудомоечную машину лучше размещать возле мойки.
Интерьер кухни фото смотрите здесь
5. Организация дополнительного пространства
Это место под мойкой и навесные полки. Под мойкой можно хранить чистящие средства, мешки для мусора т. п. А навесные полки позволят разместить баночки со специями и
другие нужные мелочи. Но не стоит хранить над головой громоздкие предметы. А если избежать этого невозможно, то вешайте их хотя бы подальше от того места, где вы кушаете.
6. Освещение
Обеденная зона должна быть хорошо освещена, особенно в периоды короткого светового дня. Хорошо иметь и дополнительное освещение, имеющее выключатель с регулируемой мощностью. Тогда вы сможете создать и романтическую обстановку с приглушенным освещением, и светский прием «в свете софитов».
И еще несколько слов об одном виде организации кухни.
Сегодня большую популярность приобретают так называемые квартиры-студии, мода на которые пришла к нам из Европы. Ведь если в маленькой квартире объединить изолированные комнаты, то таким образом можно расширить пространство. При этом можно использовать ширмы, этажерки, раздвижные стеклянные барьеры, барные стойки и т. д. и квартира становится одной большой комнатой, разделенной на зоны. В таких квартирах кухня часто совмещена со столовой и зоной отдыха.
Однако квартира-студия удобна для семьи без детей. Но отдельные элементы вполне можно использовать. Например, сделать кухню-гостиную, объединив эти отдельные помещения.
При этом нужно знать, что для кухонной зоны лучше отвести немного места (максимум — треть комнаты), а остальное пространство оставить для зоны отдыха.
Чтобы визуально разделить эти зоны, можно использовать такой дизайн интерьера, как разный уровень потолка, пола, цвет обоев, барную стойку, перегородку из гипсокартона, цветных или прозрачных стеклоблоков. А чтобы перегородка не перегружала пространство, она должна быть не выше 1 метра.

Как утверждает учение фэн-шуй, чем уютнее, теплее и красивее будет ваша кухня, тем более счастливой и здоровой будет вся семья. Поэтому к ее обустройству нужно подходить очень тщательно. Но, кроме этого, нужно стараться, чтобы на кухне у вас всегда был порядок: выбрасывайте треснувшую посуду, сломанные бытовые приборы, не храните здесь ненужные вещи — все это будет вносить беспорядок и в вашу жизнь. Заботьтесь о своем кухонном пространстве и в вашем доме всегда будет гармония и счастье.














